Prekių katalogas

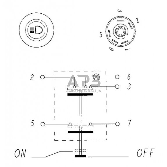
  • Spaudžiamas jungiklis Pneutron 11125200PN

    Kodas: 854147
  • Part number 11125200PN
    EAN
    Unit Each
    Properties Volts (nominal): 12 V or 24 V Operating temperature - 30 to + 70 C Load capability: minimum 10 mA, maximum 15 A Maximum power per contact pair: 25 A Maximum power per switching: 50 A Electrical service life 500,000 operations Slide Plug connection 6.3 x 0.8 (E-CU, 5 µm) Dust and splash-proof
    Technical info Switch side IP67
    Function Lights
    Colour button Green
    Info With detent
  • Parduotuvė kaune

    Lakūnų pl. 81, Kaunas LT-46295 (Aleksotas)

    Darbo laikas:

    I - V 08:00 - 17:00

    VI 10:00 - 14:00

    VII Nedirbame